The S Chair

The “Z” Chair is synonymous with ingenuity. Spring semester of my freshman year me and my partner (Thomas Frain) were challenged to create our own iteration of the “Z” (Also known as the Zig-Zag) chair. We came up with the “S” chair. A simple but perplexing rebuttal to the ingenuity of the “Z” chair. Together we create a chair that has been tested up to 230 pounds, with standing that pressure with out a single screw. Just like the original “Z” chair the “S” chair only uses joinery to withstand all forces applied.

Early Skectchs

Axon

Conceptual Mini Model

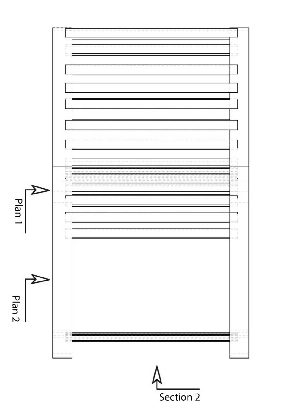
Plan 1

Plan 2

Final Model

Spring 2023

In Partnership With Thomas Frain

Professor David Fox

Section 1

Final Model

The Original “Zig-Zag” Chair By Gerrit Rietveld

Left Elevation

Final Model Photos